DC-DC Power Modules
Customized DC-DC Converters Explore DC-DC ConvertersEncoder Products
Explore Rotary Encoder
XO2520 Oscillator Ultra-low Power SPXO
Details
LV5032 LVPECL/LVDS SPXO Crystal Oscillator
Details
LV5032 Differential SPXO Crystal Oscillator
Details
TC3225 TCXO Oscillator 52MHz
Details
TC2016 SMD VCTCXO IoT Crystal Oscillator
Details
TOC2522 TCXO Crystal Oscillator
Details
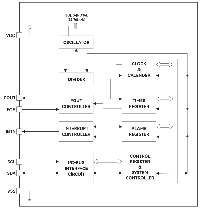
TR8804 RTC Module
DetailsRTC Modules
• Built-in 32.768kHz Crystal Unit
• Operating Voltage:1.8~5.5 V
• Low current consumption:2.2μA@3V(typical)
• Multiple functions such as calendar, alarms and time keeping
• In accordance with SOP8 standard
• Interface Type:I2C(400kHz)
• Clock Circuit Voltage:1.8~5.5 V
• Frequency Output Function:CMOS Output or Open Drain Output
• Automotive Leap Year Adjustment

• InterfaceType:High-speed IC2-bus standards(400kHz)
• Frequency Output Function: CMOS output andopen drain output available;output frequency:32.768kHz,1024Hz,1Hz available
• Timer: Setting range between 1/4096s to 65535hours;Timing period: 1 hour, 1 minute, 64Hzand 4096Hz
• Alarm: Week, day, hour, minute

| Item | Symbol | Conditions | Min. | Typ. | Max. | Unit. |
| Frequency Tolerance | ▲f/f | Ta=25℃ VDD=3.0V | 5±23※ | ppm | ||
| Start-up Time | tSTA | Ta=25℃ VDD=1.8V | 0.9 | S | ||
Ta=-40~85℃ VDD=1.8V~5.5V | 2.0 | S | ||||
※ Equals to a monthly tolerance of ±l minute per month
| Item | Symbol | Conditions | Minimum | Typical | Maximum | Unit. | |
Current Consumption | IDD1 | FOE=GND Fout=Hi-Z | VDD=5V | 2.6 | uA | ||
| IDD2 | VDD=3V | 2.5 | |||||
| IDD3 | FOE=VDD Fout=32.768kHz CL=0pF | VDD=5V | 3.6 | ||||
| IDD4 | VDD=3V | 3.0 | |||||
| IDD5 | FOE=VDD Fout=32.768kHz CL=30pF | VDD=5V | 7.5 | ||||
| IDD6 | VDD=3V | 6.2 |
| Item | Description | QTY/Tray | Trays/Carton | G.W | N.W | QTY/Carton | Package Size |
TR8010 Series | TR8010 CMOS Crystal Oscillator SPXO | /pcs | /trays | / kgs | / kgs | / pcs | (mm) |
| / pcs | / trays | /kgs | / kgs | / PCS | (mm) |
Discover all the technical specifications by downloading the datasheet today.
| Part Number | Interface |
Dimensions
(mm) |
Resolution Ranges | Resolution Counter |
Communication Frequency |
Working Temperature |
Communication Frequency |
Operation Speeds |
Protection Structure |
Footprint 3D | Datasheet | Sample |
| RZ35A08 | RS485 | Φ35mm | 17~23 Bits | Single/Multi-Turn | Differential output | -20°C-+105°C | 16K | 6000rpm | IP40 | ![]() |
![]() |
|
| RZ35A09 | RS485 | Φ35mm | 17~23 Bits | Single/Multi-Turn | Differential output | -20°C-+105°C | 16K | 6000rpm | IP40 | ![]() |
![]() |
|
| RZ35D06Q | RS485 | Φ35mm | 17~23 Bits | Single/Multi-Turn | Differential output | -20°C-+105°C | 16K | 6000rpm | IP40 | ![]() |
![]() |
|
| RZ35D06S | RS485 | Φ35mm | 17~23 Bits | Single/Multi-Turn | Differential output | -20°C-+105°C | 16K | 6000rpm | IP40 | ![]() |
![]() |
|
| RZL4408A | RS485 | Φ44mm | 17~23 Bits | Single/Multi-Turn | Differential output | -20°C-+105°C | 16K | 6000rpm | IP40 | ![]() |
![]() |
|
| RZH4409A | RS485 | Φ44mm | 17~23 Bits | Single/Multi-Turn | Differential output | -20°C-+105°C | 16K | 6000rpm | IP40 | ![]() |
![]() |
|
| RZL4409A | RS485 | Φ44mm | 17~23 Bits | Single/Multi-Turn | Differential output | -20°C-+105°C | 16K | 6000rpm | IP40 | ![]() |
![]() |
|
| RZ4809A | RS485 | Φ48mm | 17~23 Bits | Single/Multi-Turn | Differential output | -20°C-+105°C | 16K | 6000rpm | IP40 | ![]() |
![]() |
|
| UZ3509 | RS485 | Φ35mm | 1000-5000CPR | Single/Multi-Turn | Differential output | -20°C-+105°C | 500khz | / | IP40 | ![]() |
![]() |
|
| UZ4408 | RS485 | Φ44mm | 1000-5000CPR | Single/Multi-Turn | Differential output | -20°C-+105°C | 500khz | / | IP40 | ![]() |
![]() |
|
| UZ4409 | RS485 | Φ44mm | 1000-5000CPR | Single/Multi-Turn | Differential output | -20°C-+105°C | 500khz | / | IP40 | ![]() |
![]() |
|
| UZ4809 | RS485 | Φ48mm | 1000-5000CPR | Single/Multi-Turn | Differential output | -20°C-+105°C | 500khz | / | IP40 | ![]() |
![]() |
|
| RS972 | / | / | / | / | / | -40°C to +85°C | / | / | / | ![]() |
![]() |
|
| RS970 | / | / | / | / | / | -40°C to +85°C | / | / | / | ![]() |
![]() |
|
| RK Series | / | / | / | / | / | -20°C to +85°C | / | / | / | ![]() |
![]() |
|
| RK Series | / | / | / | / | / | -20°C to +85°C | / | / | / | ![]() |
![]() |
|
| RK Series | / | / | / | / | / | -20°C to +85°C | / | / | / | ![]() |
![]() |
|
| RF28 | / | / | / | Single/Multi-Turn | / | -40 °C ~+85 °C | / | / | / | ![]() |
![]() |
|
| RT28 | / | / | / | Single/Multi-Turn | / | -40 °C ~+85 °C | / | / | / | ![]() |
![]() |
|
| RF20 | / | / | / | Single/Multi-Turn | / | -40 °C ~+85 °C | / | / | / | ![]() |
![]() |
|
| RR28 | / | / | / | Single/Multi-Turn | / | -40 °C ~+85 °C | / | / | / | ![]() |
![]() |
|
| RS5 | / | / | / | Single/Multi-Turn | / | / | / | / | / | ![]() |
![]() |
|
| RSG35 | RS485 | / | 17-23 Bits | Single/Multi-Turn | ≤16K | -20 ℃ ~+105 ℃ | 16K | 6000rpm | IP40 | ![]() |
![]() |
|
| RSU3506 | RS485 | / | 17-24 Bits | Single/Multi-Turn | ≤16K | -20 ℃ ~+105 ℃ | 16K | 6000rpm | IP40 | ![]() |
![]() |
|
| MS Series | / | / | 17 Bits | Single/Multi-Turn | ≤16K | -10℃~105℃ | 16K | ≤6000rpm | / | ![]() |
![]() |
|
| RZ44 & RZ48 | RS485 | / | 17-23 Bits | Single/Multi-Turn | ≤16K | -20 ℃ ~+105 ℃ | 16K | 6000rpm | IP40 | ![]() |
![]() |
|
| RZ1337A | RS485 | / | 25 Bits | Single/Multi-Turn | ≤16K | -20°C-+105°C | 16K | 12000rpm | IP40 | ![]() |
![]() |
|
| RZ7810 | RS485 | / | 23~25 Bits | Single/Multi-Turn | ≤16K | -20°C-+105°C | 16K | 6000rpm | IP40 | ![]() |
![]() |
|
| RS Series | RS485 | / | 17~23 Bits | Single/Multi-Turn | ≤16K | -20°C-+105°C | 16K | 6000rpm | IP40 | ![]() |
![]() |
|
| RZ35 Series | RS485 | Φ35mm | 17~23 Bits | Single/Multi-Turn | Differential output | -20°C-+105°C | 16K | 6000rpm | IP40 | ![]() |
![]() |
|
| RZ35 Series | RS485 | Φ35mm | 17~23 Bits | Single/Multi-Turn | Differential output | -20°C-+105°C | 16K | 6000rpm | IP40 | ![]() |
![]() |